



普達惠爾(Pudahuel)礦物公司位于智利圣地亞哥城西30公里處,礦區高溫度只有35℃,低溫達-4℃,年降雨量為300毫米。西北100公里...
話題:選礦廠2010-10-15

阿克朱季特(Acshugit)礦位于毛里塔尼亞首都努瓦克肖特以北,礦石儲量約3000萬噸平均礦品位為2.5%,其中氧化銅礦約800萬噸,該礦...
話題:浮選工藝2010-10-15


酸浸在我國的應用尚不夠廣泛,主要原因是我國氧化銅礦的原礦性質大部分不適于用酸浸出,但在個別礦山或礦點,仍然存在著應用此法的可能性。有的礦山已...
話題:氧化銅礦處理2010-10-15





河南紅星機器制砂設備有限公司主要生產制砂設備、破碎設備、磨粉設備、建材設備、水泥設備等機器,是河南省較大的礦山機器生產基地之一,如有需要請撥...
話題:選礦2010-10-14



葉輪式?浮選機適用于有色黑色金屬的選別,還可用于非金屬如:煤瑩石、滑石的選別。下文主要是對?葉輪式浮選機?構造及工作原理及其?安裝、使用和維...
話題:浮選機2010-10-14



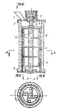
順流槽磁選機是對物料進行提純的設備,因其槽中礦漿流向與圓筒轉向一致而得名,是市場深受 用戶們的喜愛,可為用戶的生產創造更高的經濟和社會效益。...
話題:磁選機2010-10-14





可供工業利用的錳礦絕大部分為錳的氧化物和碳酸鹽化合物。重要的錳礦物主要有:軟錳礦、硬錳礦、偏錳酸礦、錳土、水錳礦、褐錳礦、黑錳礦、菱、錳方解...
話題:錳礦選礦2010-10-13


我國某鐵礦系鞍山式沉積變質鐵礦床。選礦廠處理的礦石為赤鐵石英巖,主要鐵礦物有假像赤鐵礦、半假像赤鐵礦;脈石礦物主要為石英,其次有角閃石、綠泥...
話題:赤鐵礦礦石的浮選2010-10-13


有工業價值的鐵礦物主要是:磁鐵礦,赤鐵礦,假像赤鐵礦,褐鐵礦及菱鐵礦等。這些礦物除磁鐵礦為強磁性礦物外,其它都為弱磁性礦物。...
話題:選礦2010-10-13







這類磨機的結構是在立式圓筒體的主軸上裝有不同形狀的攪拌機構,利用這種結構的旋轉運動,使加入筒體內的研磨介質產生攪拌運動,致使物料受到很強的剪...
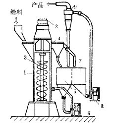
話題:磨機2010-10-12

攪拌式磨機的筒體內裝有葉片型的攪拌裝置和球介質(陶瓷球、玻璃球、鋼球等),攪拌裝置旋轉使球介質轉動,從而產生沖擊、剪切和研磨作用將物料磨碎。...
話題:攪拌式磨機2010-10-12




公式是從破碎力學原理直接推導,并對某些條件作了一些假設和對磨礦條件作了一些必要的經驗修正后得到的。此公式是否正確和有實用價值,必須通過實踐檢...
話題:球徑半理論公式2010-10-11

河南紅星礦山機器有限公司 總部地址:中國鄭州高新技術產業開發區檀香路8號
工程師免費設計方案已有162位獲得心儀的方案
算一算 搭配一條合適的生產線需要多少錢?
點擊獲取報價